Ningbo Richge Technology Co., Ltd.
Ningbo Richge Technology Co., Ltd.
제품

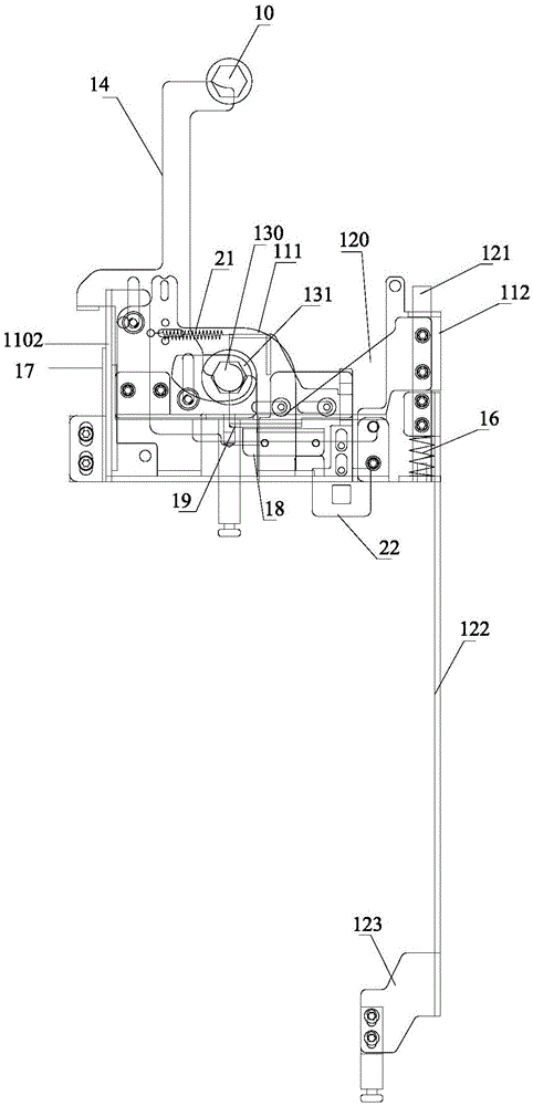
지상 스위치 작동 메커니즘 연동 장치

Earthing Switch Operating Mechanism Interlocking Device

The earthing switch interlocking device is an important device used to prevent misoperation and ensure the safe operation of the power distribution switchgear.  

Function and effect

Prevent misoperation: Avoid closing or opening the earthing switch at inappropriate times, preventing the earthing switch from being closed when the circuit breaker closed, or the circuit breaker from being closed when the earthing switch is closed, so as to ensure the safety of personnel and equipment.

Ensure the operation sequence: Ensure that the earthing switch and other related equipment (such as circuit breakers, disconnectors, etc.) are operated in a predetermined sequence and comply with the safety operation procedures in power system.


Application scenarios

High-voltage distribution cabinet: In high-voltage power systems, due to the high voltage level and large short-circuit current, the consequences of misoperation are extremely serious. Therefore, the grounding switch operating mechanism interlocking device is an indispensable component of the high-voltage distribution cabinet and is widely used in high-voltage switch cabinets in substations, power plants and other places.

Low-voltage distribution cabinet: In some low-voltage distribution systems with high requirements for power supply reliability and safety, such as hospitals, shopping malls, data centers, etc., grounding switch operating mechanism interlocking devices are also used to prevent power outages and personnel safety issues caused by misoperation.


View as  
 
스위치 기어를위한 지상 스위치 메커니즘

스위치 기어를위한 지상 스위치 메커니즘

스위치 기어의 접지 스위치 메커니즘은 스위치 기어, 변압기 및 회로 차단기와 같은 전기 시스템에서지면 스위치의 우발적 인 작동을 방지하도록 설계된 안전 메커니즘입니다. 지상 스위치는 일반적으로 회로 차단기 또는 아이솔레이터와 같은 다른 스위치가 올바른 위치에있을 때만 안전한 조건에서만 작동 할 수 있도록합니다. 이 인터록 장치는 장비의 접지를 방지하는 데 중요합니다. 여전히 활력이 넘치는 동안 전기 사고의 위험이 줄어들고 유지 보수 인원의 안전을 보장하는 데 중요합니다. 장치는 일반적으로 특정 조건이 충족되지 않는 한지면 스위치의 작동을 물리적으로 방지하여 작동합니다. 예를 들어 분리 스위치가 열려 있거나 장비가 전원 공급 장치에서 제대로 분리되었는지 확인합니다. 일부 설계에서, 인터록에는 지표 조건이 안전한지 여부를 알리기 위해 상태 표시기 또는 경보가 포함될 수 있습니다. 지상 스위치 인터록 장치는 일반적으로 고전압 장비가 존재하고 유지 보수 작업을 안전하게 수행 해야하는 변전소, 발전소 및 산업 전기 시스템에 일반적으로 사용됩니다. 접지 공정에서 오류를 방지하여 작동 안전을 향상시켜 작업이 시작되기 전에 장비가 올바르게 분리되고 접지되도록합니다. 인터 로킹 메커니즘을 통합함으로써 장치는 유지 보수 절차를 간소화하고, 사람 오류를 최소화하며, 전기 시스템의 전반적인 신뢰성을 향상시키는 데 도움이됩니다.
지상 스위치 인터록 장치

지상 스위치 인터록 장치

Richge는 중국 지상 스위치 인터록 인터 록 장치의 제조업체로, 스위치 기어 시스템 내에서지면 스위치의 안전하고 안정적인 작동을 보장하기 위해 설계된 정밀 엔지니어링 솔루션을 전문으로합니다. 우리의 인터록 메커니즘은 무단 또는 잘못된 스위칭 동작을 방지하여 작동 안전을 향상시키는 데 필수적입니다.
전기 인터록 메커니즘

전기 인터록 메커니즘

Richge는 전기 시스템의 안전성과 신뢰성을 향상시키기 위해 설계된 정교한 솔루션을 전문으로하는 중국의 전기 인터록 메커니즘 제조업체입니다. 당사의 전기 인터록 메커니즘은 다양한 스위치 기어 애플리케이션에서 정확한 제어를 제공하고 무단 또는 안전하지 않은 작업을 방지하도록 설계되었습니다.
전기 스위치 기어 커넥팅로드

전기 스위치 기어 커넥팅로드

Richge는 중국의 전기 스위치 기어 커넥팅로드 제조업체로서 스위치 기어 시스템 내에서 안정적이고 효율적인 작동을 보장하기 위해 설계된 고품질 부품을 전문으로합니다. 우리의 커넥팅로드는 다양한 스위치 기어 구성 요소 간의 안전하고 정확한 연결을 용이하게하여 전기 시스템의 전반적인 성능과 기능을 향상 시키도록 설계되었습니다.
스위치 기어를위한 연동 장치

스위치 기어를위한 연동 장치

Richge는 전기 스위치 기어 시스템의 안전하고 효율적인 작동을 보장하기 위해 혁신적이고 신뢰할 수있는 솔루션을 만드는 데 중점을 둔 중국의 스위치 기어를위한 연동 장치 제조업체입니다. 우리의 인터 로킹 메커니즘은 무단 또는 잘못된 작업을 방지하도록 설계되어 안전 및 운영 무결성을 모두 향상시킵니다.
Richge는 중국의 전문 지상 스위치 작동 메커니즘 연동 장치 제조업체 및 공급업체입니다. 저렴한 가격의 제품에 관심이 있으시면 저희에게 연락하십시오.
X
We use cookies to offer you a better browsing experience, analyze site traffic and personalize content. By using this site, you agree to our use of cookies. Privacy Policy
Reject Accept